Система инсталляции для унитазов Geberit Duofix Delta 458.163.21.1 — это надежное решение для современной ванной комнаты. Она гарантирует не только высокое качество, но и стильный внешний вид благодаря хромированной кнопке смыва. Надежная конструкция крепится к капитальной стене и полу, обеспечивая устойчивость и долговечность. Инновационная механическая кнопка смыва с двумя режимами позволяет выбрать полный или частичный слив, что существенно экономит воду.
Почему выбирают инсталляции Geberit Duofix
- Способна выдерживать нагрузку до 400 кг, обеспечивая исключительную прочность.
- Эффективный смыв при небольшом расходе воды — всего 2,5 л/с.
- Гарантия комплектности благодаря строгому весовому контролю каждого изделия.
- Полная гарантия на все составляющие, включая уплотнительные материалы, даже в коммерческих условиях.
- Удобная настройка положения кнопки смыва независимо от толщины облицовки.
- Конструктивные особенности клавиши предотвращают ошибки при монтаже.
- Бесшумная работа кнопки и точная регулировка глубины толкателей.
Краткая информация об изделии
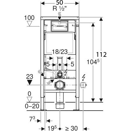
Geberit Duofix Delta крепится в капитальную стену и пол, с монтажной глубиной 12 см и высотой 112 см. Два режима слива позволяют выбрать объем — 4.5 или 6/7.5 литров, в зависимости от необходимости. Подвод воды осуществляется сверху, при этом диаметр слива составляет 9 см. Межосевое расстояние под крепежные шпильки регулируется на 18 или 23 см. Обслуживание системы производится легко через окно смывной панели, без необходимости демонтажа.
Что нужно знать перед покупкой
Важно учитывать, что звукоизолирующая прокладка приобретается отдельно. В комплекте уже включены смывной бачок и кнопка смыва, что делает установку более удобной и быстрой. Продукция Geberit отличается длительной надежностью и комплектуется 10-летней гарантией, подтверждающей швейцарское качество.
Для покупки товара в нашем интернет-магазине выберите понравившийся товар и добавьте его в корзину. Далее перейдите в Корзину и нажмите на «Оформить заказ» или «Быстрый заказ».
Когда оформляете быстрый заказ, напишите ФИО, телефон и e-mail. Вам перезвонит менеджер и уточнит условия заказа. По результатам разговора вам придет подтверждение оформления товара на почту или через СМС. Теперь останется только ждать доставки и радоваться новой покупке.
Оформление заказа в стандартном режиме выглядит следующим образом. Заполняете полностью форму по последовательным этапам: адрес, способ доставки, оплаты, данные о себе. Советуем в комментарии к заказу написать информацию, которая поможет курьеру вас найти. Нажмите кнопку «Оформить заказ».
Оплачивайте покупки удобным способом. В интернет-магазине доступно 3 варианта оплаты:
- Наличные при самовывозе или доставке курьером. Специалист свяжется с вами в день доставки, чтобы уточнить время и заранее подготовить сдачу с любой купюры. Вы подписываете товаросопроводительные документы, вносите денежные средства, получаете товар и чек.
- Безналичный расчет при самовывозе или оформлении в интернет-магазине: карты Visa и MasterCard. Чтобы оплатить покупку, система перенаправит вас на сервер системы ASSIST. Здесь нужно ввести номер карты, срок действия и имя держателя.
- Электронные системы при онлайн-заказе: PayPal, WebMoney и Яндекс.Деньги. Для совершения покупки система перенаправит вас на страницу платежного сервиса. Здесь необходимо заполнить форму по инструкции.
Экономьте время на получении заказа. В интернет-магазине доступно 4 варианта доставки:
- Курьерская доставка работает с 9.00 до 19.00. Когда товар поступит на склад, курьерская служба свяжется для уточнения деталей. Специалист предложит выбрать удобное время доставки и уточнит адрес. Осмотрите упаковку на целостность и соответствие указанной комплектации.
- Самовывоз из магазина. Список торговых точек для выбора появится в корзине. Когда заказ поступит на склад, вам придет уведомление. Для получения заказа обратитесь к сотруднику в кассовой зоне и назовите номер.
- Постамат. Когда заказ поступит на точку, на ваш телефон или e-mail придет уникальный код. Заказ нужно оплатить в терминале постамата. Срок хранения — 3 дня.
- Почтовая доставка через почту России. Когда заказ придет в отделение, на ваш адрес придет извещение о посылке. Перед оплатой вы можете оценить состояние коробки: вес, целостность. Вскрывать коробку самостоятельно вы можете только после оплаты заказа. Один заказ может содержать не больше 10 позиций и его стоимость не должна превышать 100 000 р.

































































































































