Мебель для ванной комнаты AQUATON Марбл 80 в слэйт-белом матовом исполнении станет гармоничным дополнением к вашему интерьеру. Этот мебельный гарнитур сочетает в себе изысканный дизайн и функциональность, придавая вашей ванной комнате элегантность и комфорт. Завораживающий белый матовый оттенок и продуманность каждой детали делают изделия из коллекции Марбл идеальным выбором для современного интерьера.
Почему выбирают мебель для ванной AQUATON Марбл
- Стильный и современный дизайн, который подчеркивает индивидуальность вашей ванной комнаты.
- Комфорт в использовании благодаря механизму доводчика и нажимному механизму открывания.
- Высококачественные материалы: ЛДСП и МДФ с ламинатным покрытием обеспечивают долговечность.
- Длительная гарантия: 3 года на мебель и 10 лет на раковину.
Краткая информация об изделии
В комплект AQUATON Марбл 80 входит тумба, мебельная раковина и зеркало-шкаф. Тумба с размерами 80x46x53 см выполнена из ЛДСП и снабжена механизмы доводчика, что гарантирует плавность закрывания. Фасады выполнены из МДФ с ламинатным и пленочным покрытием. Подвесная конструкция и нажимной механизм открывания придают легкость и современность.
Мебельная раковина AQUATON Мишель Mila 35 имеет параметры 50x35 см и изготовлена из полимерной керамики, обеспечивающей устойчивость к механическим повреждениям. Донный клапан необходимо приобрести отдельно.
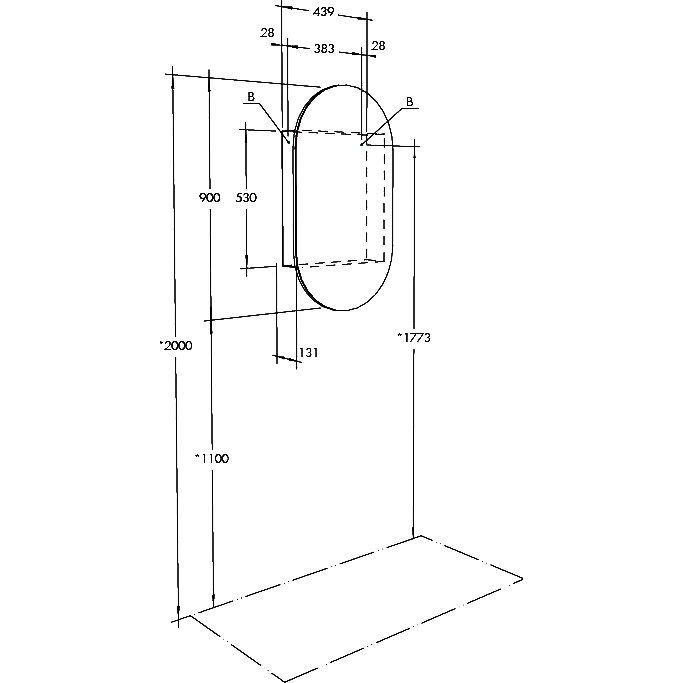
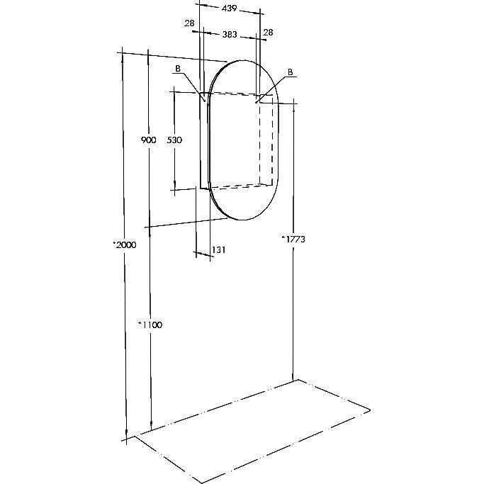
Зеркало-шкаф AQUATON Оливия 50, с размерами 50x13,1x90 см, идеально дополнит ваш гарнитур. Корпус из ЛДСП покрыт ламинатом и эмалью для создания эстетичного глянцевого эффекта.
Что нужно знать перед покупкой
При выборе сифона обращайте внимание на конструкционные особенности тумбы с раковиной, чтобы она не нарушала ее целостность и функциональность. Учтите, что шкаф-пенал необходимо приобретать отдельно, если он вам нужен для более практичного и многофункционального использования пространства в ванной комнате.
Для покупки товара в нашем интернет-магазине выберите понравившийся товар и добавьте его в корзину. Далее перейдите в Корзину и нажмите на «Оформить заказ» или «Быстрый заказ».
Когда оформляете быстрый заказ, напишите ФИО, телефон и e-mail. Вам перезвонит менеджер и уточнит условия заказа. По результатам разговора вам придет подтверждение оформления товара на почту или через СМС. Теперь останется только ждать доставки и радоваться новой покупке.
Оформление заказа в стандартном режиме выглядит следующим образом. Заполняете полностью форму по последовательным этапам: адрес, способ доставки, оплаты, данные о себе. Советуем в комментарии к заказу написать информацию, которая поможет курьеру вас найти. Нажмите кнопку «Оформить заказ».
Оплачивайте покупки удобным способом. В интернет-магазине доступно 3 варианта оплаты:
- Наличные при самовывозе или доставке курьером. Специалист свяжется с вами в день доставки, чтобы уточнить время и заранее подготовить сдачу с любой купюры. Вы подписываете товаросопроводительные документы, вносите денежные средства, получаете товар и чек.
- Безналичный расчет при самовывозе или оформлении в интернет-магазине: карты Visa и MasterCard. Чтобы оплатить покупку, система перенаправит вас на сервер системы ASSIST. Здесь нужно ввести номер карты, срок действия и имя держателя.
- Электронные системы при онлайн-заказе: PayPal, WebMoney и Яндекс.Деньги. Для совершения покупки система перенаправит вас на страницу платежного сервиса. Здесь необходимо заполнить форму по инструкции.
Экономьте время на получении заказа. В интернет-магазине доступно 4 варианта доставки:
- Курьерская доставка работает с 9.00 до 19.00. Когда товар поступит на склад, курьерская служба свяжется для уточнения деталей. Специалист предложит выбрать удобное время доставки и уточнит адрес. Осмотрите упаковку на целостность и соответствие указанной комплектации.
- Самовывоз из магазина. Список торговых точек для выбора появится в корзине. Когда заказ поступит на склад, вам придет уведомление. Для получения заказа обратитесь к сотруднику в кассовой зоне и назовите номер.
- Постамат. Когда заказ поступит на точку, на ваш телефон или e-mail придет уникальный код. Заказ нужно оплатить в терминале постамата. Срок хранения — 3 дня.
- Почтовая доставка через почту России. Когда заказ придет в отделение, на ваш адрес придет извещение о посылке. Перед оплатой вы можете оценить состояние коробки: вес, целостность. Вскрывать коробку самостоятельно вы можете только после оплаты заказа. Один заказ может содержать не больше 10 позиций и его стоимость не должна превышать 100 000 р.

































































































































